
Компания Google получила патент на продвинутую версию экрана разблокировки смартфона под управлением Android. Разработчики решили использовать не одну фигуру для разблокирования аппарата, а несколько. Каждое движение будет отвечать не за обычный переход смартфона в активное состояние, а запуск определенного приложения.

Компания Google показала телеприставку Chromecast, с помощью которой можно передавать на экран телевизора содержимое телефона, планшета или ноутбука.

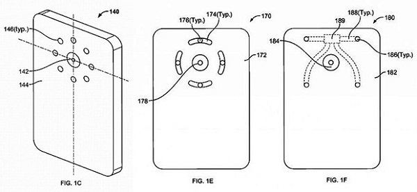
Компания Motorola представила три новых смартфона из линейки Droid: Ultra, Maxx и Mini. Все гаджеты работают на основе операционной системы Android.

Компания Google на специальной презентации анонсировала операционную систему Android 4.3. Единственным заметным нововведением в ней стало появление пользовательских профилей с ограниченными правами, которые предназначены, в первую очередь, для детей.
Компания Google представила модернизированный вариант планшета собственной разработки Nexus 7. Гаджет является первым устройством на базе ОС Android 4.3, которую компания анонсировала несколькими часами ранее.

SketchUp Pro является профессиональной версией приложения, скачав которое на cwer.ws, вы сможете создавать 3D-модели, организовывать их в презентации, обмениваться ими. Программа будет полезна везде, где есть необходимость применения 3D-моделей, будь то проектирование пристройки для дома, обучение школьников геометрии или же создание модели для Google Earth. Полный набор простых инструментов и применение интеллектуальной системы рисования позволяют легко создать и отредактировать модели, экспортировать их, создать видеофильм или распечатать результаты работы. Вместо введения значений координат можно использовать многофункциональную систему управления местоположением объекта с помощью меток, текстовых подсказок, линий различных цветов. Пользование инструментами максимально приближено к реальной жизни, ведь так намного легче научиться и, главное, запомнить, как ими пользоваться.

Новая версия операционной системы Android — 4.3 увидит свет 10 июня. Ожидается, что Android 4.3 не будет содержать значительных новшеств. Одним из основных отличий новой системы от предыдущей версии станет поддержка технологии Bluetooth с пониженным энергопотреблением — Bluetooth Smart или Bluetooth Low Energy (BLE).

Велика вероятность того, что компания Google может включить в новые версии ОС Android игровой сервис, подобный сервису Game Center в устройствах Apple. К такому выводу эксперты пришли, изучив MyGlass — приложение для работы с очками Google, разработанное для платформы Android. Программа увидела свет несколько дней назад.
На YouTube появился режим «Видеомагнитофон» (VHS mode). Режим имитирует особенности картинки кассетных магнитофонов: на видео с YouTube накладываются помехи, воспроизводятся характерные искажения; когда ролик ставится на паузу, по экрану идут «волны» с границами кадров.

Компания Google выпустила новую сборку Google Play — магазина программ для операционной системы Android. Сборка получила номер 4.0. Значительные изменения претерпел интерфейс магазина. Google отказалась от использования черного фона, как в сборках 3.X, в пользу более светлых тонов. У разделов Google Play («Приложения», «Игры», «Музыка», «Книги» и так далее) появились собственные иконки. Картинки — скриншоты игр или обложки книг — стали более крупными.

Компания Google в феврале 2013 года провела в Google Play, интернет-магазине приложений для платформы Android, крупную «чистку»: из магазина было удалено шестьдесят тысяч программ, что сделало «чистку» самой масштабной в истории Google Play. В общей сложности в Google Play содержатся около семисот тысяч приложений.

Компания Google анонсировала движок Blink, который вместо движка WebKit будет использоваться в браузере Chromium и Chrome OS. Blink, движок с открытым исходным кодом, разработан на основе WebKit и представляет собой его разновидность. Blink на данный момент находится в начальной стадии разработки. Google прежде всего собирается доработать «внутреннюю архитектуру» движка и упростить кодовую базу: из проекта удалено более 7 тысяч файлов или 4,5 миллиона строк кода.

Компания Google в июле 2013 года начнет продажи новой версии планшета Nexus 7. Гаджет будет отличаться от своего предшественника процессором (вместо Tegra 3 в нем будет применяться чип Qualcomm), более высоким разрешением экрана (в первом Nexus 7 оно составляет 1280 на 800 точек), и внешним видом — «рамка» вокруг дисплея устройства станет тоньше.

Вчера видеохостинг YouTube объявил о своем закрытии на 10 лет. Об этом сообщается на официальном канале YouTube. В размещенном на канале видеоролике под названием «YouTube April Fools 2013» говорится, что хостинг был создан в 2005 году с единственной целью — выбрать лучшее видео на свете.

Компания Google выпустила обновление для Android-приложения «Переводчик». Теперь программа может выполнять переводы с одного языка на другой без подключения к интернету.

Компания Google удалила из Google Play, магазина приложений для мобильной платформы Android, программы, которые позволяют блокировать рекламу.

Компания Google на фестивале SXSW 2013, проходящем в Остине, штат Техас, показала первые приложения для очков дополненной реальности Google Glass. Пока их только пять: это почта Gmail, блокнот Evernote, сервис для обмена рисунками Skitch, клиент социальной сети Path и газета The New York Times. В будущем их число планируется увеличить.

На фестивале SXSW 2013, который проходит в Техасе с 8 по 17 марта, компания Google представила кроссовки, которые кричат на своего владельца, заставляя заниматься спортом или просто двигаться.

Год назад компания Google переименовала собственный мобильный магазин приложений Android Market в Google Play. В честь празднования первой годовщины компания, желая поделиться с пользователями своей радостью, устраивает маленький праздник-акцию в виде раздачи бесплатного контента из своего онлайн-магазина, а это - игры, видео, а также другой контент. В течение недели каждый день предложение будет пополняться новыми продуктами.
Отличие Chromebook Pixel от ранее вышедших «хромобуков» не только в том, что поддерживает сенсорный ввод. Компьютер разработала сама Google, а разработкой других ноутбуков на Chrome OS занимались партнеры компании — Acer, HP, Lenovo и Samsung.

